

Предлагаем ознакомиться с телескопическими гофрированными коробками, особенностью конструкции которых является наличие двух отдельных элементов в форме лотков, соединяемых друг с другом при упаковке продукции.
Первый лоток является крышкой – именно по высоте перекрывает второй лоток, корпус (дно). У нас вы можете заказать картонные коробки телескопического типа с нужными габаритами, расцветкой, толщиной стенок, наличием или отсутствием флексографической печати и логотипа компании.
Основные области применения – упаковка, хранение и транспортировка разной продукции.
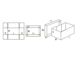
В отличие от шести предыдущих вариантов коробок из гофрокартона серии 03xx, при разработке конструкции FEFCO 0306 было выбрано не полное, а частичное перекрывание крышкой по высоте корпуса.
Если лотки на предыдущих моделях выпускаются приблизительно равной высоты (с небольшой разницей), то коробы FEFCO 0306 производятся иным образом – высота крышки в 2-4 раза меньше высоты корпуса. Такая конструкция чем-то напоминает коробки для хранения и реализации обуви.
Характеризуются высокой прочностью, долговечностью, защищают товар от механических воздействий, а также негативных факторов окружающей среды. На фоне всего этого просты в производстве, не требуют серьёзных капиталовложений и временных затрат. В отличие от серии гофроящиков 02xx верхняя и нижняя части являются цельными, а не состоят из перекрывающих друг друга клапанов.
Презентабельный внешний вид, который может быть улучшен по желанию заказчика – окрашивание, флексографическая печать, нанесение логотипов и т. д. Углы на корпусе загибаются и склеиваются по длинной стороне, а на крыше – по узкой части.
Оставьте заявку, наш менеджер подготовит расчет стоимости упаковки по заданным параметрам и свяжется с вами.